· @ticho
29 followers · 253 posts · Server mastodon.sk

@dragosr ...and today, in 21st century, increasing number of websites are unable (unwilling?) to display those images without browsers enabling . Oh my, how we have regressed.

#javascript #FuckAds

Last updated 3 years ago

JBL · @imjms737
4 followers · 17 posts · Server mastodon.online

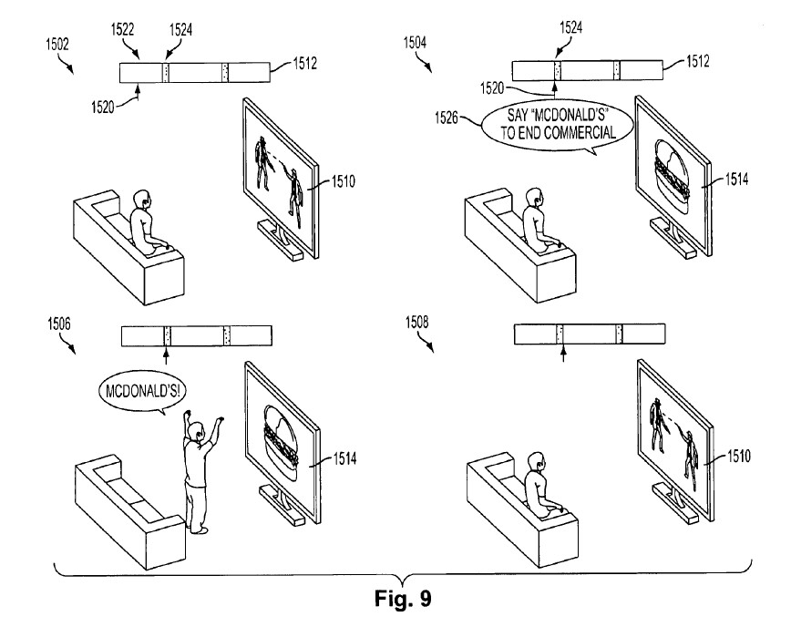
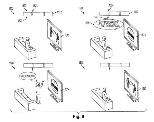
This is such a dystopian patent. So happy that Mastodon doesn't have any ads.

#FuckAds

Last updated 3 years ago

Harry Millward · @harrym
688 followers · 1692 posts · Server aus.social

I’m not going to admit to publicly advocating for anything illegal, but I just realised the ads on trains just peal off with a little finger nail push…

#FuckAds #fuckcrypto

Last updated 3 years ago

Activist · @aktivismoEstasMiaLuo
258 followers · 2118 posts · Server activism.openworlds.info

@9to5linux I just got an ad from pushing . Opened the browser & it auto visited web.archive.org/web/www.mozill ¹ Had I not been on Tor this unsolicited mozilla ad would hint to ISPs that snoop on their users that I likely use . (1. It actually visited mozilla not archive.org but Mozilla is Cloudflare-compromized)

#mozilla #MozillaVPN #firefox #FuckAds

Last updated 3 years ago

fatboy :unverified: · @fatboy
1798 followers · 9851 posts · Server fosstodon.org

Looking for a website archive of all sites that are text based and or without JavaScript.

#fucktheinternet #FuckAds

Last updated 6 years ago